정부지원사업

30인 미만 사업장, 최대 180만원 HR 플랫폼 지원

AI 요약

  • 이 글은 테라노스 사례를 통해 제품 구현에 실패했더라도 아이디어 단계의 발명이 왜 특허 등록으로 이어질 수 있는지 짚는다.
  • 미국과 한국의 특허 명세서 요건은 통상의 기술자가 발명의 핵심 원리와 구현 가능성을 이해할 정도의 구체성과 명확성을 요구하므로, 실제 완제품 설계가 없어도 핵심 기능과 구현 예시를 적절히 설명하면 특허 등록이 가능하다.
  • ZUZU는 아이디어만으로 특허가 가능한지 묻는 상황에서 특허 명세서가 어디까지 구체적이어야 하는지 판단 기준을 제시한다.

테라노스 사건으로 보는 특허 명세서 작성 요건

실리콘밸리에서 널리 알려진 실화를 바탕으로 한 드라마 <드롭아웃>이 디즈니플러스를 통해 우리나라에 공개되었습니다. 주인공인 엘리자베스 홈즈는 미국 스탠퍼드대를 중퇴하고, 피 한 방울만으로 200개가 넘는 질병을 진단할 수 있다고 주장하며 무려 10억달러(한화 약 1조 2400억원) 이상의 투자금을 유치했었지요. 그러나, 이 키트로 진단할 수 있는 질병은 실제로는 16개에 불과하고 경쟁사의 기기를 통해 결과를 제공하며 제공된 결과조차도 정확하지 않았다는 월스트리트 저널 기자의 탐사 보도로 홈즈의 사기극은 세상에 널리 알려지게 되었습니다.

https://res.cloudinary.com/zuzu-homepage/image/upload/q_auto/f_auto/c_fill/w_720/v1726817163/zd5gygujul4rwx76kulw.png

그러나, 제품 생산에 실패했음에도 불구하고, 테라노스는 전세계적으로 약 800건이 넘는 특허출원을 진행했습니다. 그 중 미국에서 84건, 대한민국에서 31건의 특허 등록에 성공했습니다. 그렇다면, 테라노스가 미국과 대한민국에서 이러한 성과를 거둘 수 있었던 이유는 무엇일까요? 각 국가의 특허 등록 요건이 테라노스의 전략에 어떻게 부합했는지 살펴보겠습니다.

https://res.cloudinary.com/zuzu-homepage/image/upload/q_auto/f_auto/c_fill/w_720/v1726817212/imptth8kko3wgakjbtcu.png

미국 등록특허 제11,090,655호의 도면 12

미국 특허법

미국 특허법 112조(35 U.S.C. § 112)에는 명세서 작성 시 충족해야 하는 3가지 요건(상세한 설명, 명확성, best mode 기재 요건)이 규정되어 있습니다. 테라노스 사례를 통해서는 명확성 요건의 충족 여부를 살펴볼 수 있겠습니다.

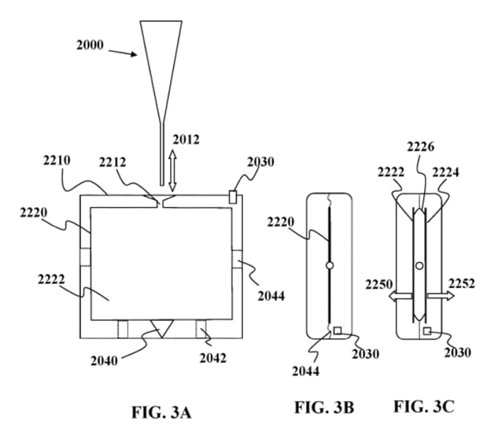
특허 명세서는 발명자가 자신의 발명을 완전하고 명확하게 설명해야 하는 문서입니다. 미국 특허법에 따르면, 명세서는 관련 분야의 통상의 기술자가 발명을 이해하고 실행(생산 및 사용)할 수 있을 만큼 충분한 구체성을 갖추어야 합니다. 테라노스의 미국 등록특허 제11,090,655호는 혈액 샘플을 수용할 수 있는 확장 가능한 용기 구조를 기재하고 있습니다.

흥미로운 사실은, 해당 특허에서 이 용기는 액체가 채워지기 전 확장 가능한 부분을 가지고, 측면 벽이 확장 과정에서 개구에 대해 상대적으로 이동 가능하다(wherein the at least one rigid side wall is movable relative to said at least one opening when expanding said empty expandable containers)는 기재만으로 명확성을 만족한 것으로 인정받았다는 사실입니다. 이러한 사례는 특허 명세서 작성 과정에서 발명의 핵심적인 기능에 대한 집중할 필요성을 보여주는 사례입니다.

https://res.cloudinary.com/zuzu-homepage/image/upload/q_auto/f_auto/c_fill/w_720/v1726819130/yqssdct5o6ymfnw1xvk5.png

미국 등록특허 제11,090,655호의 도면 3A~3C(확장 가능한 용기 구조의 예시)

또한, 테라노사의 다른 미국특허 제9,719,990호의 청구항은 혈액 샘플을 14개의 큐벳에 분사하고, 각 큐벳에서 특정 분석물(예: 크레아틴, 빌리루빈 등)의 존재 여부를 감지하는 신호를 전송한다는 내용을 포함하고 있습니다. 이와 같이 혈액 샘플을 나누어 분석하는 방식만으로도 충분히 구체성을 갖추었으며, 큐벳의 모양이나 위치 등 제품의 상세한 설계가 없이도 특허 등록이 가능했습니다.

이처럼, 미국 특허 심사 실무에서는 기술 분야에 속하는 통상의 기술자가 발명의 중요한 원리를 이해할 수 있을 정도의 명확성을 제시하고, 변경이 가능한 구현 예시를 몇 가지 기재하는 것으로 특허 명세서의 작성 요건을 만족시킬 수 있겠습니다.

대한민국 특허법

대한민국 특허법은 제42조를 통해 특허 명세서의 기재 요건을 규정하고 있습니다. 발명의 설명에는 발명의 목적, 구성, 작용, 효과 등을 구체적으로 서술해야 하며, 발명이 속하는 기술 분야의 통상의 기술자가 발명을 이해하고 재현할 수 있을 정도로 명확하고 상세히 기재해야 합니다. 미국 특허와 대비하면, 최선의 실시예(best mode)를 기재할 필요가 없다는 차이점이 있겠습니다.

발명의 상세한 설명에는 종래 기술과 대비하여 새롭게 추가된 구성이나 변경된 구성이 기재되어야 하고, 그러한 구성의 변경을 통해 통상의 기술자가 예측하기 어려운 효과가 있다는 것이 충분히 설명되어야합니다. 예를 들면, 테라노사의 대한민국 등록특허 제10-1761235호에는 혈액 분석한 결과를 나타내는 신호 채널에 광섬유를 포함하는 전 내부 반사 형광(TIRF) 분광계를 배치했다는 내용이 기재됩니다.

즉, 혈액을 통해 다수의 질병을 검사하는 장치라는 아이디어를 구현하는 과정에서 분석 신호를 보다 신속하게 전달하기 위해 광섬유 기반의 TIRF 분광계를 배치했다는 기재로 특허 문서 작성 요건 중 명확성 요건을 만족하고 특허 등록에 성공했습니다.

마치며

대한민국이나 미국에서 특허 등록를 위해 요구하는 구체성, 명확성의 정도는 특정한 기능을 구현하기 위한 기본 아이디어(예. 확장 가능한 빈 용기, 광섬유를 포함하는 분광계 채널 등)를 통상의 기술자가 이해할 수 있을 정도면 만족하고, 실제 제품을 어떻게 만들 것인지에 대한 예시 정도의 구체성을 필요로 하는 것은 아닙니다.

따라서, 발명의 특정 구조를 과도하게 제한하기보다는, 발명이 제공하는 다양한 구현 방식을 포괄할 수 있는 특허권을 확보하는 전략이 유효한 전략입니다. 특허 청구항에서 이러한 유연성을 확보하는 것은 빠르게 발전하는 기술 분야에서 매우 중요합니다.

이미지를 클릭할 수 있어요
* 본 웹사이트는 코드박스를 소개하고 코드박스가 취급하는 서비스에 관한 일반적인 정보를 제공하기 위한 것일 뿐, 법률적 자문이나 해석을 위해 제공된 것이 아닙니다. 본 웹사이트에 게재된 내용과 관련하여 본 웹사이트의 접속자에게 발생할 수 있는 일체의 직ㆍ간접적 손해에 대하여 코드박스는 어떠한 법적 책임도 지지 아니하며, 본 웹사이트에 게재된 내용에만 기초하여 어떠한 행위를 하는 것은 법률적 위험을 수반할 수 있으므로, 본 웹사이트에 게재된 내용과 관련하여 어떠한 의문이 있을 경우에는 반드시 전문가에게 자문을 구하시기 바랍니다. 본 웹사이트에 게재된 내용들은 코드박스의 사전동의 없이 어떠한 형태로도 재생, 복사, 배포될 수 없음을 유의하시기 바랍니다.